
產品與解決方案/PRODUCT AND SOLUTIONS
少用電 用好電 再生電 存儲電 防爆電
解決方案
高壓變頻器在螺桿式空壓機節能改造中的應用
1引言
登封市君鑫煤業有限責任公司位于登封市石道鄉上沃村境內,距登封市區30公里,交通便利。井田面積6.58平方公里,地質儲量3181萬噸,設計生產能力30萬噸/年。君鑫煤業2009年獲得河南省工業和信息化廳頒發的“一級安全質量標準化礦井”;2010年獲得鄭州市總工會、鄭州市工業和信息化委員會、鄭州市環境保護局頒發的“雙比雙降”節能減排競賽先進單位;2011年獲得鄭州市煤炭管理局、鄭州市煤炭行業協會頒發的“鄭州市煤炭工業先進企業”。
君鑫煤礦壓風機房內安裝兩臺62m3/min壓風機,供生產、各采區工作面。由于壓風機選型裕量大,存在著大馬拉小車的現象,浪費嚴重,而且設備控制方式落后,為響應國家號召和社會發展的需要,礦領導決定對原有設備進行升級改造。經過多方調查研究,決定選用山東新風光電子科技發展有限公司生產的JD-BP38-400F型高壓變頻器2套分別對2臺螺桿式空氣壓縮機進行節能改造。
電機基本參數:
型號:Y4505-2 額定電壓:10kV 額定電流:25.2A
額定功率:355kW 額定頻率:50Hz 額定轉速:2960r/min
壓縮機參數:
型號:SA350W-6K-T 排氣量:62.0 m3/min 電機功率:355kW
額定排氣壓力:0.8MPa
2螺桿式空壓機
2.1螺桿式空氣壓縮機工作原理
螺桿式空氣壓縮機由螺桿機頭、電動機、油氣分離桶、冷卻系統、空氣調節系統、潤滑系統、安全閥及控制系統等組成。螺桿壓縮機的工作循環可分為進氣,壓縮和排氣三個過程。隨著轉子旋轉,每對相互嚙合的齒相繼完成相同的工作循環。
(1)進氣過程:轉子轉動時,陰陽轉子的齒溝空間在轉至進氣端壁開口時,其空間較大,此時轉子齒溝空間與進氣口的相通,因在排氣時齒溝的氣體被完全排出,排氣完成時,齒溝處于真空狀態,當轉至進氣口時,外界氣體即被吸入,沿軸向進入陰陽轉子的齒溝內。當氣體充滿了整個齒溝時,轉子進氣側端面轉離機殼進氣口,在齒溝的氣體即被封閉。
(2)壓縮過程:陰陽轉子在吸氣結束時,其陰陽轉子齒尖會與機殼封閉,此時氣體在齒溝內不再外流。其嚙合面逐漸向排氣端移動。嚙合面與排氣口之間的齒溝空間漸漸件小,齒溝內的氣體被壓縮壓力提高。
(3)排氣過程:當轉子的嚙合端面轉到與機殼排氣口相通時,被壓縮的氣體開始排出,直至齒尖與齒溝的嚙合面移至排氣端面,此時陰陽轉子的嚙合面與機殼排氣口的齒溝空間為0,即完成排氣過程,在此同時轉子的嚙合面與機殼進氣口之間的齒溝長度又達到較長,進氣過程又再進行。
從上述工作原理可以看出,螺桿壓縮機是一種工作容積作回轉運動的容積式氣體壓縮機械。氣體的壓縮依靠容積的變化來實現,而容積的變化又是借助壓縮機的一對轉子在機殼內作回轉運動來達到。
2.2螺桿式空氣壓縮機的缺點
空壓機在運行過程中,根據壓力罐檢測到的壓力大小,控制閥門進行加載和卸載控制,確保壓力罐壓力在0.65MPa到0.75MPa之間波動,保證井下擁有足夠的氣源;在采用工頻方式啟動時,主要有以下缺點:
(1)啟動電流仍然很大,直接影響電網的穩定性與其它用電設備的運行安全;
(2)空壓機時常出現空載運行,電能浪費嚴重,處于非經濟運行狀態;
(3)啟動時對設備的沖擊較大,一些部件的動作頻率高(如電磁閥等),導致設備后期維護費用高;
(4)工頻運行,設備噪音大。
2.3 變頻改造必要性
通過改變壓縮機的轉速來調節流量,而閥門的開度保持不變(一般保持最大開度)。當壓縮機轉速改變時,供氣系統的供氣量發生變化,而管網壓力保持基本不變。
高壓交流變頻調速技術是上世紀九十年代迅速發展起來的交流電動機的調速技術,其技術和性能勝過其它任何一種調速方式。變頻調速以其顯著的節能效益、高精確的調速精度、寬范圍的調速、完善的保護功能,以及易于實現的自動通信功能,得到了用戶和市場的認可,在運行的安全可靠、安裝使用、維修維護等方面,也給使用者帶來了極大的便利,使之成為企業采用電機節能方式的首選方案。
在這種控制方式下,通過變頻調速技術改變壓縮機電機的轉速,壓縮機的供氣流量可隨著用氣流量的改變而改變,達到真正的供需平衡,在節能的同時,也可使整個系統達到較佳工作效率。
3風光JD-BP38系列高壓變頻調速系統介紹
風光牌JD-BP38系列高壓變頻器以高速DSP為控制核心,采用無速度矢量控制技術、功率單元串聯多電平技術,屬高-高電壓源型變頻器,其諧波指標小于IEE519-1992的諧波國家標準,輸入功率因數高,輸出波形質量好,不必采用輸入諧波濾波器、功率因數補償裝置和輸出濾波器;不存在諧波引起的電機附加發熱和轉矩脈動、噪音、輸出dv/dt、共模電壓等問題,可以使用普通的異步電機。具體來說,風光高壓變頻調速系統各部分介紹如下。
3.1總體結構
采用直接高壓變頻電路結構,功率單元多重化連接,直接輸出到高壓電機,提供驅動電壓。從物理結構上分為控制柜,功率柜,變壓器柜三大部分,根據現場工藝要求還可選配旁路柜,上位機,遠控盒,結構如圖1所示。

圖1 高壓變頻器外形
3.2控制柜
變頻控制柜主要有主控(CPU)、UPS、PLC、人機界面、控制電源開關、開關電源、繼電器、避雷器、信號隔離器、接線端子,柜門操作按鈕等部分構成,控制柜主要構成部分介紹如下。
(1)主控系統
主控系統為變頻器的核心,它接收和處理來自上位控制及PLC的控制命令,產生每相各級功率單元的控制信號,同時采集和處理所有故障單元反饋回來的故障信息。新風光JD-BP38系列變頻器采用高性能的主控系統,控制器采用32位DSP,運行速度可以達到150MIPS,足夠完成一些較復雜的控制算法。同時其有6路獨立的PWM輸出、2個異步串行通訊口、16通道12位AD輸入,內置了36k的RAM和256k的Flash存儲器,可以存放較大規模的程序。線路板采用大規模集成電路和表面焊接技術,系統具有極高的可靠性。
(2)不間斷電源UPS
UPS不間斷電源,安裝在控制柜的底部,屬于純在線式,當外部提供的控制電源220VAC正常時,UPS提供給控制系統穩定的220V電源,當外部電源掉電時,利用設計的電源冗余系統,相應的控制電繼電器動作,轉到變壓器的二次繞組220V繼續提供控制電源,UPS不間斷工作,提供穩定的電源。只有當控制電和高壓電同時掉電后,UPS利用自身的電池可繼續給系統供電30min,同時變頻器給出報警信號,用戶應盡快恢復控制電源。
(3)內置PLC
變頻器通過內置PLC實現內部開關信號以及現場操作信號和狀態信號的邏輯處理,增強了變頻器現場應用的靈活性。對開關量的數量不能滿足要求時,可以用數字量擴展模塊來實現。PLC作為一種技術成熟的工業控制元件,為變頻器的現場應用提供靈活的接口和可靠性保證。
高壓變頻器的控制系統標準接口如圖2所示:

3.3 功率柜
功率柜主要用于安裝功率單元,實現單元的串聯疊加三相輸出。功率單元是使用功率電力電子器件進行整流、濾波、逆變的高壓變頻器部件,也是構成高壓變頻器主回路的主要部分。每個功率單元都相當于一臺交-直-交電壓型單相低壓變頻器。每個功率單元由H橋構成,輸出一組SPWM波,每相8個單元,通過疊加輸出一組17個電平的正弦波;同一相中的每個功率單元的采樣頻率一致,用同一個載波進行調制,載波相差1/N個采樣周期。
當功率單元出現過流、過壓故障時,變頻器立即封鎖該單元的輸出,通過軟件控制,使功率單元輸出電流可以經全橋逆變電路上橋臂,或者下橋臂形成電流回路實現將該單元旁路。
功率柜頂部配置冷卻風機,選擇德國EBM的風機,由移相變壓器二次檢測繞組220V供電,通過斷路器由PLC控制功率柜風機的啟動,當變頻器啟動頻率運行時,風機啟動。
3.4 變壓器柜
變壓器柜主要由移相變壓器、溫控儀、冷卻風機等部件構成。
移相變壓器的原理:將高壓電源變換為副邊相互絕緣的多組低壓,各副邊繞組在繞制時采用延邊三角形的接法,相互之間有一定的相位差。移相變壓器示意圖如圖3所示。

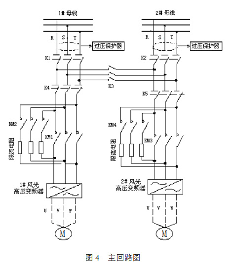
4空壓機變頻改造主回路
根據現場要求,此系統采用雙電源一用一備兩套變頻器,如圖4所示。

本系統采用一用一備兩臺空氣壓縮機,1#、2#變頻器分別控制一臺空氣壓縮機,這樣1#系統與2#系統互為備用,保證系統安全正常運行。
此系統采用雙回路電源供電,1#母線與2#母線分別來自兩個不同的變壓器電源。K3為母線聯絡刀閘,當1#或者2#電源其中任何一路電源斷電的情況下,K3刀閘閉合,使得1#、2#變頻器供電電源正常。K1、K2為兩臺高壓隔離開關,為確保1#、2#電源不發生短路,K1、K2、K3采用電磁互鎖操動機構,實現電磁和機械互鎖。K4、K5為兩臺高壓隔離開關,分別向1#、2#變頻器供電。K1、K4閉合,K2、K3、K5斷開,1#母線供電,1#變頻器運行;K1、K3、K4斷開,K2、K5閉合,2#母線供電,2#變頻器運行。
1#變頻器與2#變頻器互為備用,當其中一臺變頻器故障時,兩外一臺變頻器迅速投入運行。此時故障變頻器從高壓中隔離出來,便于檢修、維護和調試。
另外,為了保證安全,變頻器高壓連跳信號和上一級的高壓斷路器也實現互鎖,變頻器高壓連跳串入上一級高壓斷路器的脫扣線圈,變頻器出現故障時,上一級的高壓斷路器斷開,實現高壓故障連跳功能。
5 空壓機變頻系統控制原理及主要參數設置
5.1空壓機變頻控制原理
在管道供氣系統中,最基本的控制對象是流量,供氣系統的基本任務就是要滿足用戶壓力需求情況下對流量進行調節的需求。所以,保持管道中的氣壓恒定,保證該處供氣能力恰好滿足用氣需求,這就是恒壓供氣系統所要達到的目的。
空氣壓縮機采用變頻調速技術進行恒壓供氣控制時,系統原理框圖如圖5所示。

變頻器將管網壓力作為控制對象,裝在儲氣管出氣口的壓力變送器將儲氣罐的壓力轉變為4~20mA電信號送給PID調節器,與壓力給定值進行比較,并根據差值的大小按既定的PID控制模式進行運算,產生控制信號去控制變頻器的運行頻率,從而調整電動機的轉速,那么空壓機輸出相應的壓縮空氣至儲氣罐,使之壓力變化,直到管網壓力與給定壓力值相同,從而使實際壓力始終維持在給定壓力。
5.2變頻器主要參數設置
使用前,需對變頻器的以下功能進行預置:
(1)PID設定,PID設定通道設為:0,HMI,即變頻器壓力閉環設定通過通信給定;PID反饋通道設為:1,AI2,即變頻器閉環壓力反饋通過主控板的AI2端子給定;PID結構為2,比例+積分,PID控制比例增益和積分增益同時起作用;P取0.50,I取10.0s。
(2)上限頻率,由于空氣壓縮機的轉速一般不允許超過額定值,故?H≤?N,式中 ?H—設置上限頻率,?N—額定頻率,?H這是取50Hz。
(3)下限頻率,空氣壓縮機采用變頻調速后,其下限頻率的預置要視壓縮機的機種的工況而定,一般說來,其范圍約為30Hz≤?L≤40Hz,式中?L—設置下限頻率,這里取30Hz。
(4)加、減速時間,空氣壓縮機有時需要在儲氣罐已經有一定壓力的情況下啟動,這時通常要求快一點加速,故加速時間應盡可能縮短(以啟動過程不因過電流而跳閘為原則);減速時間可參照加速時間進行預置(以制動過程不因過電壓而跳閘為原則),變頻器設置上升、下降時間為60s。
(5)升、降速方式,空氣壓縮機對升、降速方式無特殊要求,可設置為線性方式。
用戶現場需求壓力為0.70Mpa。當用戶用氣量減少,儲氣罐壓力將上升,此時變頻器頻率將下降。但是,由于變頻器下降到目標頻率需要幾秒鐘時間。這段時間內,空壓機繼續做功,儲氣罐壓力將繼續上升到0.75Mpa,反之,當用戶用氣量增加時,幾秒鐘內儲氣罐壓力將會下降到0.65Mpa。這樣同樣會造成空壓機頻繁加載、卸載。根據現場情況,設置空壓機卸載界限為0.75Mpa,加載界限為0.65Mpa,也就是說當儲氣罐壓力在0.65~0.75Mpa范圍內,空壓機不需要加載、卸載,而是由變頻器調節電機轉速,那么空壓機輸出相應的壓縮空氣至儲氣罐,使之壓力變化,直到管網壓力與給定壓力值相同,從而使實際壓力始終維持在給定壓力。
6 空壓機變頻改造后的效果
在實際運行中,我們比較了改造前后的運行情況:改造前,空氣壓縮機經常是加載卸載,加載運行時電流為25A,卸載運行時電流為12A,改造后,空氣壓縮機運行頻率常在41Hz左右,運行電流為15~22A,基本沒有卸載時間。這樣節省大量的電能,延長了設備的使用壽命。該系統于2013年5月28日安裝調試完畢,并且安全運行到至今。
(1)節約能源使運行成本降低
通過變頻技術改造后空壓機運行成本降低20%,再加上變頻起動后對設備的沖擊減少,維護和維修量也跟隨降低,所以運行成本將大大降低。通過測算,運行一年節約的成本費用就可以收回改造的投資。
(2)提高壓力控制精度
變頻控制系統具有精確的壓力控制能力。使壓縮機的空氣壓力輸出與用戶空氣系統所需的氣量相匹配。變頻控制壓縮機的輸出氣量隨著電機轉速的改變而改變。由于變頻控制電機速度的精度高,可以使管網的系統壓力保持基本恒定。
(3)全面改善壓縮機的運行性能
變頻器軟啟、軟停止,從而減少對壓縮機的電氣部件和機械部件所造成的沖擊,增強系統的可靠性,使壓縮機的使用壽命延長。變頻調速改造后,電機運轉速度明顯減慢,從而有效地降了空壓機運行時的噪聲。現場測定表明,噪聲與原系統比較平均下降約10dB。
7結束語
山東新風光電子科技發展有限公司生產的JD-BP38-400F型高壓變頻器在登封市君鑫煤業公司空壓機投運以來,其性能穩定、節能效果明顯,可以根據井下用風量的多少進行調節空壓機轉速,提高了空壓機運行的經濟性。
在煤礦的壓風系統中應用高壓變頻器節能改造,是國家大力提倡節能降耗不可缺少的技術手段。除此之外,變頻器對空壓機的穩定運行也起著重要作用。高壓變頻器越來越廣泛地應用在電力、冶金、石化、水泥、礦山等高壓電機驅動的各個行業。