
產品與解決方案/PRODUCT AND SOLUTIONS
少用電 用好電 再生電 存儲電 防爆電
解決方案
高壓變頻器在陽城國際發電有限公司凝結水泵上的應用
1引言
陽城國際發電有限責任公司是于1996年10月10日投資組建的中外合作企業。該公司建設和經營的陽城電廠,位于山西省晉城市陽城縣北留鎮。東距晉城市25公里,西距陽城縣城10公里。陽城電廠項目一期工程安裝6臺35萬千瓦亞臨界燃煤發電機組,陽城電廠以專廠、專線、專供的方式全部送往江蘇省。
我公司于2008年10 月至2009年2月27日,先后對該發電廠一期4#、1#及3#機組六臺凝結水泵(6KV/1185KW)調速系統進行了變頻改造。該電廠選用我公司生產的高壓變頻器JD-BP37-1250F一拖二系列,通過調節變頻器運行頻率來改變電機轉速,以調節水泵的流量及壓力。該三臺變頻器自投入運行以后,運行穩定,節能效果顯著。
2凝結水泵運行工況
2.1工藝介紹
在汽輪機內做完功的蒸汽在凝汽器冷卻凝結之后,集中在熱水井中,這時凝結水泵的作用是把凝結水及時地送往除氧器中。維持凝結水泵連續、穩定運行是保持電廠安全、經濟生產地一個重要方面。凝結水泵電機為 6KV/1185KW 電機,每臺機組配備兩臺凝結泵,一臺運行,一臺備用。工頻運行情況下,凝汽器內的水位調整是通過改變凝結水泵出口閥門的開度進行的,調節線性度差,大量能量在閥門上損耗。同時由于頻繁的對閥門進行操作,導致閥門的可靠性下降,影響機組的穩定運行。使用高壓變頻器之后,凝結水泵出口閥門不需要調整,通過調節變頻器的輸出頻率改變電機的轉速,達到調節出口流量及壓力的目的,滿足運行工況要求。
2.2設備參數

3高壓變頻器原理
3.1系統結構
JD-BP37系列高壓變頻調速系統的結構,由移相變壓器、功率單元和控制器組成。高壓變頻器6KV/1250KW系列有24個功率單元,每8個功率單元串聯構成一相,圖1中給出了系統結構示例。

3.2功率單元電路
每個功率單元結構上完全一致,可以互換,其主電路結構如圖所示,為基本的交-直-交雙向逆變電路,圖中通過逆變塊IGBT反并聯的二極管構成三相全橋方式整流,整流后的給濾波電容充電,確定母線電壓, 通過對IGBT逆變橋進行正弦PWM控制實現雙向逆變。

3.3輸入側結構
輸入側由移相變壓器給每個單元供電,每個功率單元都承受電機電流、1/8的相電壓、1/24的輸出功率。24個單元在變壓器上都有自己獨立的三相輸入繞組。功率單元之間及變壓器二次繞組之間相互絕緣。二次繞組采用延邊三角形接法,目的是實現多重化,降低輸入電流的諧波成分。
本機中移相變壓器的副邊繞組分為三組,構成36脈沖整流方式;這種多級移相疊加的整流方式可以大大改善網側的電流波形,使其負載下的網側功率因數接近1,輸入電流諧波成分低。實測輸入電流總諧波成分小于4%。
3.4輸出側結構
輸出側由每個單元的U、V輸出端子相互串接而成星型接法給電機供電,通過對每個單元的PWM波形進行重組,可得到階梯PWM波形。這種波形正弦度好,dv/dt小,可減少對電纜和電機的絕緣損壞,無須輸出濾波器就可以使輸出電纜長度很長,電機不需要降額使用,可直接用于舊設備的改造;同時,電機的諧波損耗大大減少,消除了由此引起的機械振動,減小了軸承和葉片的機械應力。圖3為變頻器輸出的線電壓階梯PWM波形。

3.5控制器
控制器核心由高速32位數字信號處理器(DSP)運算來實現,精心設計的算法可以保證電機達到較優的運行性能。人機界面提供友好的全中文WINDOWS監控和操作界面,同時可以實現遠程監控和網絡化控制。內置PLC控制器用于柜體內開關信號的邏輯處理,以及與現場各種操作信號和狀態信號的協調,可以和用戶現場靈活接口,滿足用戶的特殊需要,增強了系統的靈活性。
控制器與功率單元之間采用多通道光纖通訊技術,低壓部分和高壓部分完全可靠隔離,系統具有極高的安全性,同時具有很好的抗電磁干擾性能,并且各個功率單元的控制電源采用一個獨立于高壓系統的供電體系,方便調試、維修、現場培訓,增強了系統的可靠性。
3.6 控制電源
控制器有一套獨立于高壓電源的供電體系,在不加高壓的情況下,設備各點的波形與加高壓情況基本相似,給整機可靠性、調試、培訓帶來了很大方便。
系統采用三次諧波補償技術提高了電源電壓利用率,利用了調制信號預畸變技術,使電壓利用率近似于1。系統還采用了先進的載波移相技術,它的特點是單元輸出的基波相疊加、諧波彼此相抵消。所以串聯后的總輸出波形失真特別小,實測輸出電流總諧波成分小于2%。
4改造方案
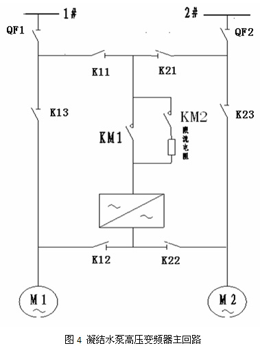
我公司針對現場工藝情況,和陽城國際發電有限公司相關技術人員詳細探討后,采用兩臺凝泵公用一臺變頻器的應用形式,主回路示意圖如圖 4 所示。正常運行時,高壓隔離開關K11、K12 合上,斷路器QF1合上, 隔離開關K13斷開,#1 凝結水泵處于變頻運行狀態;高壓隔離開關K23合上,斷路器QF2斷開,高壓隔離開關K21、K22斷開,#2 凝結水泵處于工頻熱備用狀態。當變頻運行的凝結水泵因變頻器故障跳閘時,另一臺凝結水泵可以工頻啟動。

該一拖二高壓變頻器含有兩個高壓刀閘柜,其中M1電動機刀閘柜中變頻運行選擇隔離開關K11、K12和工頻運行選擇隔離開關K13具有電氣和機械互鎖;M2電動機刀閘柜中變頻運行選擇隔離開關K21、K22和工頻運行選擇隔離開關K23也具有電氣和機械互鎖;#11刀閘柜中變頻運行選擇隔離開關K11和#12刀閘柜中變頻運行選擇隔離開關K21具有電氣互鎖,高壓變頻器同一時間內只能拖動一臺凝結水泵電機。為了保證系統的安全穩定,在DCS系統中也做了相同的電氣互鎖,而且為防止剩余電荷對變頻器的損害,在 DCS 操作系統中還設計有邏輯閉鎖,即只有在合上變頻器下口隔離開關 K12 或 K22 后才能合上斷路器 QF1(QF2)。采用兩臺凝結水泵公用一臺變頻器的應用形式不僅能充分的利用變頻器,而且可以大量節約電廠投資費用。
我公司考慮電廠車間空間狹小,所以高壓變頻器柜體采取“L”形設計,以較大節省空間,為客戶量身定做。
5運行情況

根據實驗結果計算,1#、3#及4#單臺凝結水泵變頻器全年節電量約為4775076KW·h,節電率達到46%。按照每度上網電價0.30元計算,全年可獲經濟效益1432522.8元,而且避免了對閥門的沖擊磨損,保證了恒定水壓。
6總結
高壓變頻裝置節能效果明顯,采用變頻調速后,實現了電機的軟啟動,延長了電機的壽命,也減少了管道的振動與磨損。同時優選變頻器應用方式,節省初投資。通過綜合考察對比,陽城國際發電廠選擇兩臺凝結水泵公用一臺變頻器的運行方式,在電力行業,對于許多高壓大功率的輔機設備推廣和采用高壓變頻調速技術,不僅可以取得相當顯著的節能效果,是電廠節能降耗的一個有效的途徑,而且也得到國家產業政策的支持,代表了今后電力行業節能的方向,目前電力行業越來越多的人員對此都已形成廣泛共識。